Katlanabilir iPhone kırışıksız ekran teknolojisiyle gelecek: Apple 2026’da ne sunacak?

Apple’ın son yıllardaki iPhone modelleri küçük yeniliklerle yetinirken, 2026 yılı şirket için büyük bir kırılma noktası olacak gibi görünüyor. Gelen bilgilere göre Apple, gelecek yıl katlanabilir bir iPhone tanıtacak. Bu cihaz, hem 2026 iPhone serisinin yıldızı olacak hem de kullanıcıları büyük bir yenileme döngüsüne sürükleyebilir.

Katlanabilir iPhone’un fiyatı ne kadar olacak?

Apple’ın iş modeli basit: yüksek kaliteli ürünleri, yüksek fiyatla satmak. Bu nedenle yeni katlanabilir iPhone’un da ucuz olması beklenmiyor. Tahminler, cihazın fiyatının 2.000 ila 2.500 dolar arasında olacağı yönünde. Karşılaştırmak gerekirse, Samsung Galaxy Z Fold 7 modeli 1.999 dolardan başlıyor.

Ancak analist Ming-Chi Kuo, cihazın beklenenden daha uygun fiyatlı olabileceğini öne sürüyor. Bunun nedeni, Apple’ın maliyeti düşürmek için fiyat indirimi yapması değil, menteşe üretim maliyetlerinin tahmin edilenden daha ucuz olması.

Başlangıçta 100–120 dolar olacağı tahmin edilen menteşe maliyeti, yeni üretim teknikleri sayesinde 70–80 dolara kadar inmiş durumda. Bu da Apple’a, ister kâr marjını artırma ister fiyatı düşürüp pazar payını genişletme esnekliği sunuyor.

Yine de Apple’ın, fiyatı rakiplerinden çok uzaklaştırmamak isteyeceği düşünülüyor. 2.000 doların çok üzerine çıkmak, Vision Pro örneğinde olduğu gibi ürünü sadece zengin bir azınlığa hitap eden bir statü sembolüne dönüştürebilir. Eğer planlar yolunda giderse, iPhone Fold’un seri üretimi 2026’nın ortasında başlayacak ve Eylül 2026’da tanıtılacak.

Apple’ın gizli silahı: Kırışıksız ekran teknolojisi

Katlanabilir telefonlar artık yeni değil. Samsung yıllardır bu pazarda, Google ise yakın zamanda piyasaya sürdüğü Pixel 10 Pro Fold ile dikkat çekiyor.

Yine de Apple için bu durum bir dezavantaj sayılmaz. Şirket, genellikle yeni bir alana ilk giren değil, en iyisini sunan marka olmayı tercih ediyor. iPod ve iPhone’un ilk örnekleri de aynı stratejinin ürünüydü.

Katlanabilir telefonların en büyük sorunu olan ekran kırışıklığı, Apple’ın üzerinde uzun süredir çalıştığı bir problem. Şirketin tedarikçileriyle birlikte geliştirdiği yeni ekran teknolojisi sayesinde, bu sorun tamamen ortadan kaldırılabilir.

Analist Ming-Chi Kuo’ya göre Apple, ekranla entegre bir metal plaka kullanarak bükülme stresini eşit dağıtacak bir sistem geliştirdi. Bu yapı, ekranın esneklik sınırını aşmasını önleyerek kırışıklık riskini en aza indiriyor. Ayrıca, üretim sürecinde kullanılan lazer delme teknolojisi, ekranın dayanıklılığını artıran mikro yapılar oluşturacak.

Katlanabilir iPhone’un tasarımı ve özellikleri

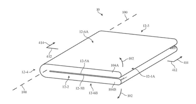
Apple’ın katlanabilir modeli, yatay olarak açılan bir tasarıma sahip olacak. Yani cihaz, Galaxy Z Fold tarzında olacak; Z Flip gibi dikey açılmayacak. Tasarım açısından “iki iPhone Air’in birleşimi” şeklinde tanımlanıyor.

Tamamen açıldığında 4,5 mm kalınlığında olacağı söyleniyor — bu, 5,6 mm kalınlığındaki iPhone Air’den bile ince. Üstelik bu inceliğe rağmen cihazın dayanıklılığı konusunda endişe etmeye gerek yok; iPhone Air modeli bile 214 poundluk basınca dayanabiliyor.

Donanım özellikleri

Katlanabilir iPhone’da Face ID yerine Touch ID bulunacak. Bu, cihaz açık veya kapalıyken parmak iziyle erişimi kolaylaştıracak bir tercih.

Cihaz kapalıyken 5,5 inç, tamamen açıldığında ise 7,58 inç ekrana sahip olacak.

Bunun dışında:

  • 12 GB RAM

  • 256 GB depolama alanı

  • Titanyum gövde

  • Çift 48 MP arka kamera

  • İç ekran kamerası

gibi güçlü teknik özelliklerin yer alması bekleniyor. Hatırlatmak gerekirse, 12 GB RAM’e sahip ilk iPhone modeli, kısa süre önce piyasaya çıkan iPhone 17 Pro olmuştu.

iPhone Fold, 2026 satışlarını artırabilir

Apple, son büyük tasarım değişikliğini 2017’de iPhone X ile yapmıştı. Bu model, şirketin satışlarını ciddi şekilde artırmıştı. Analistler, benzer bir etkinin katlanabilir iPhone ile yeniden yaşanabileceğini düşünüyor.
Tahminlere göre, bu yeni modelin piyasaya çıkmasıyla birlikte 2026’daki iPhone satışları 2025’e göre yüzde 10 artabilir.

Bu yazımız da ilginizi çekebilir:

Apple’ın ilk katlanır iPhone’unda (ve iPhone 15’te) fiziksel düğmeler olmayabilir

Author: can tok

Bir yanıt yazın

E-posta adresiniz yayınlanmayacak. Gerekli alanlar * ile işaretlenmişlerdir